Описание
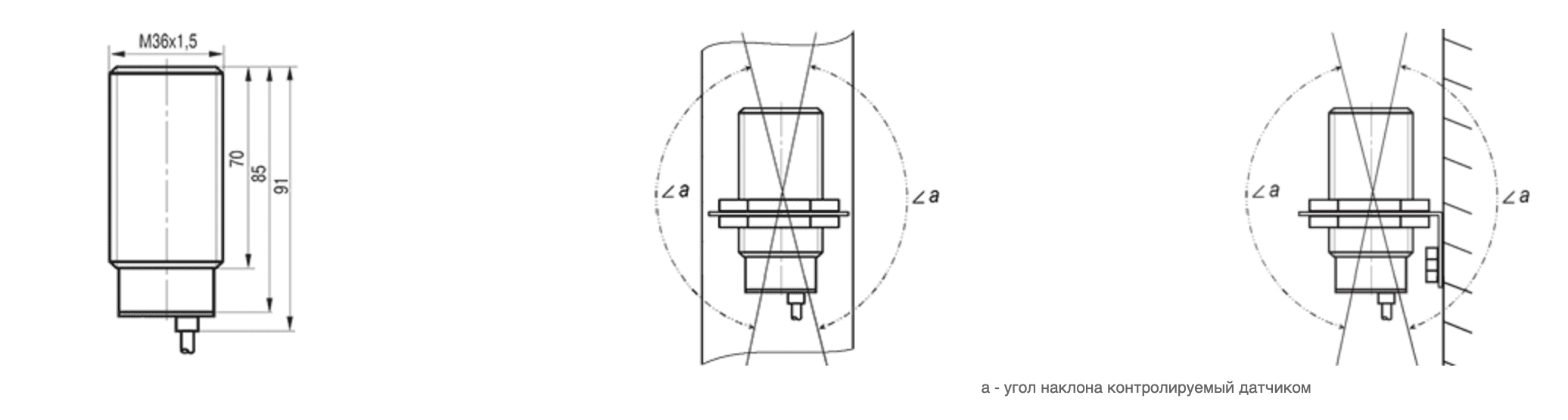
Датчик предельного угла наклона - ДПУ - предназначен для контроля допустимого угла наклона по двум осям, в диапазоне от 5 до 180º. В зависимости от способа крепления датчик может контролировать отклонение как горизонтально, так и вертикально расположенных объектов.

Датчик имеет встроенный гидростабилизатор который демпфирует вибрацию, что исключает возможность ложных срабатываний. Простая кинематическая схема и минимум механических составляющих, обеспечивают высокую надежность и долговечность изделия. Высокая степень защиты (IP-68) и возможность изготовления из материалов стойких к агрессивным средам материалов, позволяют использовать изделия в жестких условиях эксплуатации.

Датчики ДПУ находят свое применение в устройствах робототехники, транспортных средства и подъемных механизмах, в системах мониторинга, и безопасности в различных отраслях промышленности.






